
Ученые из Новосибирского технического университета разработали новую конструкцию боеприпаса для подствольных гранатометов, предназначенных для поражения низколетящих беспилотников. Изобретение отличается надежностью и эффективностью. Об этом сказано в патентной документации, передает ТАСС.
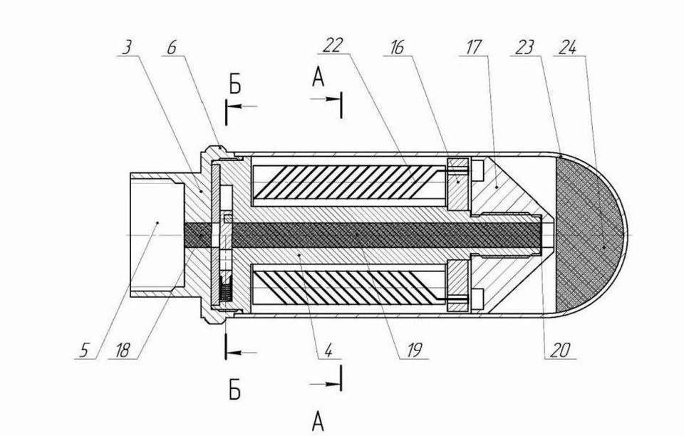
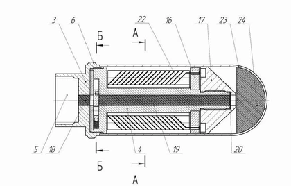
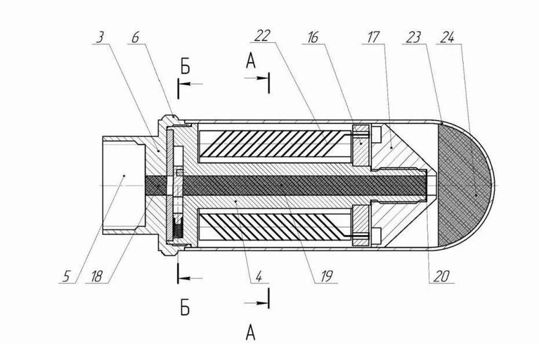
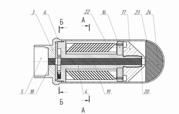
Авторы разработки отмечают, что ранее созданные боеприпасы для поражения дронов имеют корпус с боевой частью, внутри которой находится сеть из прочных нитей для уничтожения небольших беспилотников. Однако при развертывании сеть спутывается, что снижает их эффективность.
«Техническим результатом предлагаемой полезной модели является усовершенствование работы механизма разворачивания сети, обеспечивающее гарантированное получение поражающей поверхности без спутывания», — сказано в документе.
Усовершенствованный предохранительный механизм с задвижкой и стопором повышает надежность и безопасность боеприпасов. Перед выстрелом задвижка фиксирует капсюль-воспламенитель, исключая случайное срабатывание. При запуске пиротехнический состав обеспечивает точное раскрытие сети, после чего сбрасываемый стакан освобождает пространство.
Ранее российские инженеры создали беспилотник «Зефир-М», который может находиться в воздухе до 24 часов. Этот дрон выполняет функции ретранслятора, увеличивая дальность атакующих дронов и средств РЭБ.